Джебел - клуб

Здравствуйте, гость ( Вход | Регистрация )

61 страниц V  « < 44 45 46 47 48 > »   
Показать только полезное Ответить в данную тему Начать новую тему
> Карб Mikuni BSR 32, Новые Джебелы - решаем проблему экологичного карбюратора
shupaltse
сообщение 3.9.2015, 19:46
Сообщение #1126


эмси джебел
******

Группа: Модераторы
Сообщений: 6302
Регистрация: 26.2.2009
Вставить ник Цитата Из: спб
Мотоцикл: 250XC drz-mod

Репутация:   130  


вот ещё полежит здесь из другой темы:
Цитата(далекоездячий @ 20.5.2013, 20:43) *
винт закручиваем до упора и отворачиваем на 1,5 оборота.


Цитата(далекоездячий @ 21.5.2013, 13:06) *
зона влияния винта качества смеси ХХ очень короткая и важна для работы на (малом газе ) .Богатая смесь лучше для начального запуска. Для экологии конечно не гуд, а на средних оборотах и выше ,зона влияния главного жиклера и дозирующей иглы .Так что этот волшебный винт выкрученный на 2,5 оборота только для экономии и экологии

Цитата(далекоездячий @ 23.5.2013, 23:02) *
Я понимаю этот хитрый процесс так :винт регулировки качества смеси находится в конце воздушного канала . примерно в середине расположен верткальный колодец в поплавковую камеру с жиклером ХХ .Т.К. рассматриваем ХХ. Заслонка почти закрыта ,главный топливный жиклер почти перекрыт иглой, поэтому всасываемый воздух стремится пройти через указанный выше канал и в узкую щель в зслонке

В теории ,чем больше вывернут винт тем больше бензина будет выдуваться . но на практике все немного не так .неверное хорактеристика процесса не линейная .Если завернуть винт полностью, то двигатель глохнет. если отвернуть на полоборота сразу все работает , при превышении 1,5 оборотов обороты выравниваються и просле 1,8 -2,0 начинают скисать и требуеться добавлять оборототов винтом коррекцииХХ.

важно правильное соотношение (пропорция) воздуха и бензина . Поэтому в идеале необходимо, на работающем двигателе . вывернуть винт в то положение, ( кол-во оборотов ), на котором обороты ХХ будут максимальными , а только потом выставить обороты ХХ винтом коррекции оборотовХХ.И на практике это очень часто 1,2 -2,0 оборота. И вся эта байда в основном для ХХ.

Для правильного приготовления смеси на средних оборотах и выше пропорцию воздуха и бензина нужно ловить положением иглы , размером жиклера главного топливного , жиклера главного воздушного и пропускной способностью фильтра с шноркелем.А, еще дырой в глушаке, совсем про это забыл)))

Т.е. если вы быстро ездиете и у вас закопченая свеча . то винт качества тут врядли поможет.

Все это, мое личное мнение .

______________________________

Цитата(Wert @ 1.9.2015, 22:55) *
Коли лезешь в дебри бульбуляторов, используй голову не только для что бы в неё есть)))


а если я тупой и на форуме пытаюсь для себя разобраться? может ты всё это познал, когда я в пелёнки ссал, и сейчас тебя утомляет отвечать полноценно, как далекоездячий, например? кмк, проще игнорировать эту тему, как большинство, чем тратить время на общие фразы без ответов)) и конечно, ничего личного, дядь андрей.

Цитата(Wert @ 1.9.2015, 22:55) *
если ты закрываешь водопроводный кран, то вода перестаёт течь)))))


у крана нет и байпасс-канала. мне вот интересно, по какой причине откручивание или закручивание винта качества в карбе типа bsr называют обогащением или обеднением, если этот винт регулирует количество уже готовой смеси? или всё дело в обходном канале до заслонки, потому что там к этой смеси примешивается воздух из эйбокса?



--------------------
жирный бак, движок в идеале, карб тоже.
Полезно: 0
Вредно: 0
Перейти в начало страницы Перейти в конец страницы
+ Цитировать сообщение
Wert
сообщение 3.9.2015, 21:39
Сообщение #1127


Зампотех
*****

Группа: Свои
Сообщений: 3123
Регистрация: 22.5.2008
Вставить ник Цитата Из: Нерезиновая
Мотоцикл: DR-z400S

Репутация:   31  


Не Василий, ты не тупой, ты ленивый))

Книжки читать не хочешь))) но это не только твоя беда, проще на форуме спросить, кто нить чего нить да скажет))
Толку только от этого...коли сам поковыряешся, да разберёшся, то точно уяснишь и запомнишь...а так только вариант один дядька сказал))
а так как дядек много, то каша будет обеспечена)))

Давай так, из под винта качества идёт рабочая смесь (смесь топлива с воздухом), завернёшь винт, смеси не будет, двигатель глохнет.

В каком соотношении должна быть смесь что бы оно работало, почему смесь называется бедной, почему богатой, разберись сам что бы не путаться в вопросах и показаниях.


А без азов, которые в книжках и изложены, нормального разговора не получиться. Понятия должны быть одни,что бы разговаривать на одном языке.

Байпасом (от англ. bypass) называют трубопровод, который располагают в обход определенного участка в системе.
Ты это имел в виду или просто слово красивое?
что ты под этим байпасом подразумеваешь?
Где это находится, что обходит, зачем обходит?

Так что в сторону эмоции, давай разбираться...





--------------------
Cogito ergo sum
Полезно: 0
Вредно: 0
Перейти в начало страницы Перейти в конец страницы
+ Цитировать сообщение
shupaltse
сообщение 3.9.2015, 22:09
Сообщение #1128


эмси джебел
******

Группа: Модераторы
Сообщений: 6302
Регистрация: 26.2.2009
Вставить ник Цитата Из: спб
Мотоцикл: 250XC drz-mod

Репутация:   130  


Цитата(Wert @ 3.9.2015, 21:39) *
Книжки читать не хочешь))) но это не только твоя беда, проще на форуме спросить, кто нить чего нить да скажет))


правда так выглядит? и даже мои цитаты из "книжек" не намекают на то, что я сначала пытаюсь разобраться сам?
и да, я не прочитал ещё всё существующее по этой теме.

Цитата(Wert @ 3.9.2015, 21:39) *
Давай так, из под винта качества идёт рабочая смесь (смесь топлива с воздухом), завернёшь винт, смеси не будет, двигатель глохнет.


а чего глохнет-то, если на схеме есть байпасс-канал, в котором готовая смесь из топливного и воздушного жиклёров хх, но выход у него до заслонки? получается двигателю не хватает того объёма смеси для работы?

Цитата(Wert @ 3.9.2015, 21:39) *
В каком соотношении должна быть смесь что бы оно работало, почему смесь называется бедной, почему богатой, разберись сам что бы не путаться в вопросах и показаниях.


а разве речь об этом? речь о том, что канал от воздушного жиклёра хх стыкуется с каналом от топливного жиклёра хх и потом снова расходятся - к винту качества и к байпассу перед заслонкой. если бы винт регулировал количество воздуха или бензина, можно было бы обсудить тему бедной или богатой смеси, но здесь же жиклёры с фиксированной дырой и только лишь винтом добавляется или уменьшается количество уже готовой дополнительной смеси, а не отдельно топлива или отдельно воздуха. я понимаю, это может быть всё глупо, дурацкие вопросы, и всем на форуме смешно их читать, но мне это интересно и я не физик и не моторист.

Цитата(Wert @ 3.9.2015, 21:39) *
А без азов, которые в книжках и изложены, нормального разговора не получиться. Понятия должны быть одни,что бы разговаривать на одном языке.


в каком месте у нас разошлись понятия? вернёмся и уточним.

Цитата(Wert @ 3.9.2015, 21:39) *
Ты это имел в виду или просто слово красивое?
что ты под этим байпасом подразумеваешь?
Где это находится, что обходит, зачем обходит?


лол. выходит нашлось место, где произошло расхождение понятий?))
ты уже написал несколько ответов на мои вопросы про байпасс и сейчас выяснилось, что неясно о чём речь pardon.gif
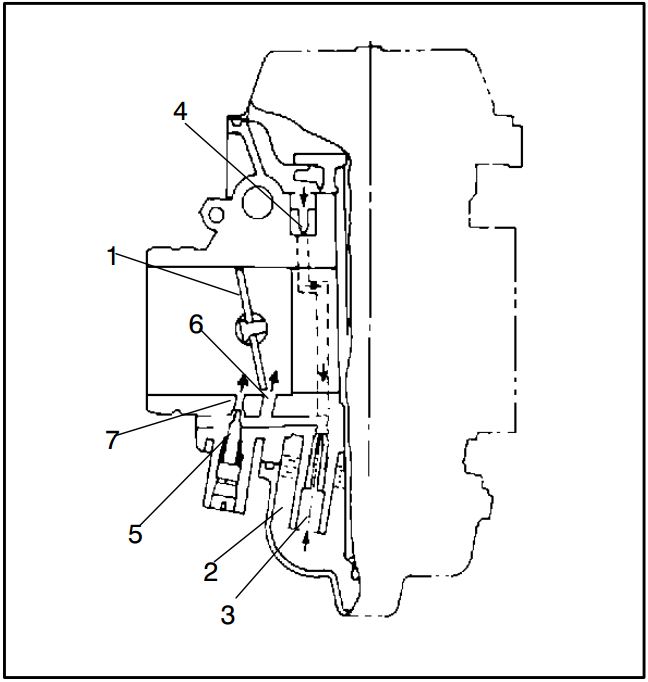
я не буду отсылать к книгам, это не мой уровень профессионализма, поэтому вот картинка, где изображён трубопровод, который располагают в обход определенного участка в системе, номер 6:
Цитата(shupaltse @ 31.8.2015, 20:12) *




--------------------
жирный бак, движок в идеале, карб тоже.
Полезно: 0
Вредно: 0
Перейти в начало страницы Перейти в конец страницы
+ Цитировать сообщение
Wert
сообщение 3.9.2015, 23:08
Сообщение #1129


Зампотех
*****

Группа: Свои
Сообщений: 3123
Регистрация: 22.5.2008
Вставить ник Цитата Из: Нерезиновая
Мотоцикл: DR-z400S

Репутация:   31  


Отрядом книг уставил полку, читал читал, да всё без толку)))

это шутка, просто не смог удержаться)))
и давай ка без намёков)) мы же всё таки мальчики))

начнём с азов.
Первое. Карбюратор – прибор, для приготовления горючей смеси.
второе условно это можно разделить на два этапа.
На первом этапе создаётся рабочая смесь или эмульсия, то есть перемешивается бензин с воздухом.
Этот процес происходит с помощью воздушных и топливных жиклёров, перемешивание происходит в эмульсионных трубках и колодцах.
В результате получаем рабочую смесь, которая поступает в диффузор. Там она смешивается с воздухом из эрбокса.
Вот про эту смесь мы можем говорить богатая она или бедная. А всё что на предварительном этапе, это просто рабочая смесь или в просторечье просто бензин.

За подачу воздуха в карбе отвечают воздушные заслонки, одна две, в зависимости от конструкции. Воздушная заслонка закрыта, воздух не проходит, на чистом бензине(рабочей смеси) двигатель не сможет работать. Что бы воздух всё же проходил в заслонках либо делается вырез, либо винтом кол-ва её приоткрывают.

Теперь смотри схему, канал 6 находиться до заслонки, двигатель на холостых, какое то количество воздуха проходит, и какое то количество рабочей смеси поступает.
Всё бы ни чего но стоит чуть приоткрыть воздушную заслонку, воздуха стало больше( дыра большая, а рабочей смеси уже не достаточно для устойчивой работы.
Делается регулировочный винт (винт качества). он находится после заслонки и таким образом, мы к определённому кол-ву воздуха, можем добавить ещё бензина(рабочей смеси) что бы система работала устойчиво. Влияние винта качества распостраняется приблизительно от хх и до половины хода а то и больше ручки газа. где то была диаграмма если вспомню где. Таким образом, завернув винт качества до упора мы обедняем смесь на столько что гореть не чему,(смесь в цилиндре, а не рабочую смесь...она осталась практически такой же) отворачивая винт, соответственно обогащаем смесь( не рабочую, а смесь в цилиндре)

а так понятно?





--------------------
Cogito ergo sum
Полезно: 0
Вредно: 0
Перейти в начало страницы Перейти в конец страницы
+ Цитировать сообщение
InVader
сообщение 3.9.2015, 23:14
Сообщение #1130


Сильно заинтересован
****

Группа: Эндуристы
Сообщений: 776
Регистрация: 3.5.2013
Вставить ник Цитата Из: Камышин
Мотоцикл: Djebel 250XC 2003

Репутация:   9  


Цитата(shupaltse @ 3.9.2015, 19:09) *
а чего глохнет-то, если на схеме есть байпасс-канал, в котором готовая смесь из топливного и воздушного жиклёров хх, но выход у него до заслонки? получается двигателю не хватает того объёма смеси для работы?

Получается так. Диапазона регулировки винта холостого хода достаточно чтобы испортить соотношение воздуха и бензо-воздушной смеси, поступающей через жиклеры на низких и средних оборотах.
Причем как забеднить, так забогатить. Иначе сам жиклер холостого хода подобран неправильно.
Сами принципы регулировки очень хорошо переданы в статье: http://kickstarter.org/index.php?ind=revie...iew&iden=33
Вроде бы уже светилась ссылка. Очень хорошо разжеван сам принцип - двигатель на хорошей смеси крутиться быстрее.
Для себя определился на эти выходные тряпку на глушитель и крутить битой как сказано в статье. Пока все признаки бедной смеси.

С настройкой тоже намучался. Впуск весь перебирал на предмет подсоса, психанул и снял бокс.
Проверял герметичность водой. Оказалось крышку от времени повело немного и прокладкой никак не получалось обеспечить герметичность.
В итоге, как советовали в теме про бокс залил место под прокладку герметиком и прижал крышку. Только вместо масла чтобы крышка не прилипла подложил пищевую пленку. Очень аккуратно и просто получилось. 100% герметичность.
Теперь с чистой совестью можно крутить карб.


Полезно: 0
Вредно: 0
Перейти в начало страницы Перейти в конец страницы
+ Цитировать сообщение
Wert
сообщение 4.9.2015, 0:23
Сообщение #1131


Зампотех
*****

Группа: Свои
Сообщений: 3123
Регистрация: 22.5.2008
Вставить ник Цитата Из: Нерезиновая
Мотоцикл: DR-z400S

Репутация:   31  


Во, помню же что была картинка)) и ВАся оказывается ея выкладывал))


туточки
https://djebel-club.ru/forum/uploads/monthl...-1418944135.jpg



--------------------
Cogito ergo sum
Полезно: 0
Вредно: 0
Перейти в начало страницы Перейти в конец страницы
+ Цитировать сообщение
InVader
сообщение 4.9.2015, 8:32
Сообщение #1132


Сильно заинтересован
****

Группа: Эндуристы
Сообщений: 776
Регистрация: 3.5.2013
Вставить ник Цитата Из: Камышин
Мотоцикл: Djebel 250XC 2003

Репутация:   9  


Во многих источниках отображается влияние винта качества на весь диапазон.
Типа такого:

В принципе то логично. Канал этот никуда не девается и смесь идет на любых оборотах.

Полезно: 0
Вредно: 0
Перейти в начало страницы Перейти в конец страницы
+ Цитировать сообщение
Leksey
сообщение 4.9.2015, 8:57
Сообщение #1133


Человек с аватарой
*********

Группа: Модераторы
Сообщений: 35029
Регистрация: 16.7.2009
Вставить ник Цитата Из: Первоуральск
Мотоцикл: Suzuki Djebel 250 XC 96

Репутация:   271  


Цитата(InVader @ 4.9.2015, 10:32) *
Канал этот никуда не девается и смесь идет на любых оборотах.

Если у выходов разряжение остается, то да. Ну наверное оно остается, почему нет.

Полезно: 0
Вредно: 0
Перейти в начало страницы Перейти в конец страницы
+ Цитировать сообщение
Wert
сообщение 4.9.2015, 11:08
Сообщение #1134


Зампотех
*****

Группа: Свои
Сообщений: 3123
Регистрация: 22.5.2008
Вставить ник Цитата Из: Нерезиновая
Мотоцикл: DR-z400S

Репутация:   31  


Цитата(InVader @ 4.9.2015, 9:32) *
В принципе то логично. Канал этот никуда не девается и смесь идет на любых оборотах.


Конечно идёт, только там дырочки то маленькие по сравнению с главной дозирующей системой,
чем больше открыт газ тем меньше влияние...но на расход общий сказывается сильно, ведь кирпичь на газ редко ездим, не ф1 всё же))




--------------------
Cogito ergo sum
Полезно: 0
Вредно: 0
Перейти в начало страницы Перейти в конец страницы
+ Цитировать сообщение
Leksey
сообщение 4.9.2015, 13:44
Сообщение #1135


Человек с аватарой
*********

Группа: Модераторы
Сообщений: 35029
Регистрация: 16.7.2009
Вставить ник Цитата Из: Первоуральск
Мотоцикл: Suzuki Djebel 250 XC 96

Репутация:   271  


Цитата(Wert @ 4.9.2015, 13:08) *
кирпичь на газ редко ездим, не ф1 всё же

нинаю нинаааю) всё же почти ф1 получается )

По-другому ничо не едет, можно везде опоздать.

Полезно: 0
Вредно: 0
Перейти в начало страницы Перейти в конец страницы
+ Цитировать сообщение
Сhestar
сообщение 4.9.2015, 13:59
Сообщение #1136


Почётный флудер
*******

Группа: Свои
Сообщений: 15713
Регистрация: 18.3.2011
Вставить ник Цитата Из: Пангоды ЯНАО-Часов-Яр Донбасс
Мотоцикл: ТА 700,Djebel XC 250 2003г.

Репутация:   101  


как раз к вопросу о смеси.
сегодня загнался в болотистую опу ну очень далеко,при сильном нагреве движка становится вялый отклик на ручку,и иногда попердывает при сбросе.
при более-менее обдуве все в норму возвращается.
богатит?

да,и на холодную прет очень весело.



--------------------
Якщо людина зовсім не пье, вона або хвора, або падлюка
Полезно: 0
Вредно: 0
Перейти в начало страницы Перейти в конец страницы
+ Цитировать сообщение
InVader
сообщение 4.9.2015, 14:01
Сообщение #1137


Сильно заинтересован
****

Группа: Эндуристы
Сообщений: 776
Регистрация: 3.5.2013
Вставить ник Цитата Из: Камышин
Мотоцикл: Djebel 250XC 2003

Репутация:   9  


Греется больше на бедной смеси и пердит в глушак тоже на бедной.
Для воздушников наоборот рекомендуют смесь в сторону переобогащенной делать. Меньше температура сгорания, но чуть выше расход.
В статье по ссылке выше все расписано.

Полезно: 0
Вредно: 0
Перейти в начало страницы Перейти в конец страницы
+ Цитировать сообщение
Сhestar
сообщение 4.9.2015, 14:11
Сообщение #1138


Почётный флудер
*******

Группа: Свои
Сообщений: 15713
Регистрация: 18.3.2011
Вставить ник Цитата Из: Пангоды ЯНАО-Часов-Яр Донбасс
Мотоцикл: ТА 700,Djebel XC 250 2003г.

Репутация:   101  


с большим расходом у меня все в порядке,хе,а жутко греется из-за низкой передачи и газульки в пол продолжительное время.
мне интересно почему тяга чуть пропадает на перегретом,и как победить?




--------------------
Якщо людина зовсім не пье, вона або хвора, або падлюка
Полезно: 0
Вредно: 0
Перейти в начало страницы Перейти в конец страницы
+ Цитировать сообщение
Wert
сообщение 4.9.2015, 14:54
Сообщение #1139


Зампотех
*****

Группа: Свои
Сообщений: 3123
Регистрация: 22.5.2008
Вставить ник Цитата Из: Нерезиновая
Мотоцикл: DR-z400S

Репутация:   31  


Цитата(chestar700 @ 4.9.2015, 15:11) *
с большим расходом у меня все в порядке,хе,а жутко греется из-за низкой передачи и газульки в пол продолжительное время.
мне интересно почему тяга чуть пропадает на перегретом,и как победить?


ни как, воздушник к сожалению или к счастью,)))
Можно винт качества сделать тюнинговый, что бы крутить можно было и при перегреве на пол оборота заворачивать, вылез из как, назад возвращать, или дополнительное охлаждение мострячить)))



--------------------
Cogito ergo sum
Полезно: 0
Вредно: 0
Перейти в начало страницы Перейти в конец страницы
+ Цитировать сообщение
Сhestar
сообщение 4.9.2015, 14:59
Сообщение #1140


Почётный флудер
*******

Группа: Свои
Сообщений: 15713
Регистрация: 18.3.2011
Вставить ник Цитата Из: Пангоды ЯНАО-Часов-Яр Донбасс
Мотоцикл: ТА 700,Djebel XC 250 2003г.

Репутация:   101  


Цитата(Wert @ 4.9.2015, 16:54) *
Можно винт качества сделать тюнинговый, что бы крутить можно было и при перегреве на пол оборота заворачивать, вылез из как, назад возвращать, или дополнительное охлаждение мострячить)))

с языка снял,все стеснялся этот вопрос задать,насчет тонкой подстройки смеси(прямо КТМ какой получается).



--------------------
Якщо людина зовсім не пье, вона або хвора, або падлюка
Полезно: 0
Вредно: 0
Перейти в начало страницы Перейти в конец страницы
+ Цитировать сообщение
InVader
сообщение 10.9.2015, 21:58
Сообщение #1141


Сильно заинтересован
****

Группа: Эндуристы
Сообщений: 776
Регистрация: 3.5.2013
Вставить ник Цитата Из: Камышин
Мотоцикл: Djebel 250XC 2003

Репутация:   9  


Доброго вечера. Отчитываюсь по настройке винта качества.
С точно герметичным боксом и вроде бы отсутсвием подсосов (Визуально все патрубки проверил, помыл, почистил, хомуты затянуты. Только не пробывал пшикать ничем при работающем двигателе)
получилось около 3.25, может даже больше, посчитаю по возможности точно.

Причем уменьшение совсем чуть-чуть уже заметно и существенно. Вчера показалось что богатит на 3-х оборотах, взял да убавил совсем чуть-чуть на 1/8 где то.
Сегодня похолодало и забыл что вертел винт. В итоге ломал голову почему мот опять не едет и шумит.

Настраивать по границам обеднения у меня не получилось.
Пальцам мучительно больно. Если глушитель можно накрыть тряпкой, то как не поджарится костяшкой об горячий натяжитель я так и не придумал.
Границу обеднения с горем пополам нашел потому что вкручивать еще более менее удобно. Тухнуть мотор стал на 0,75 оборота, заглох на 0,5
Границу обогащения пока не изловчился поймать. Крутить на несколько оборотов, чтобы бита не выпадала и костяшку не пождарить не получается.

Пока настроил по признаку сброса оборотов. При бедной смеси если газануть обороты спадают медленно, плавно. При нормальной смеси быстро до холостых оборотов.
При слишком богатой сбрасываются быстро с провалом ниже холостых.
Выставил по этому признаку. Вернулась и тяга на низах и шуметь меньше стал.

Какие наблюдения, выводы:
1. Бокс и весь впуск обязательно нужно проверять. Если у меня с герметичным боксом и поднятой иглой столько получилось, то насколько нужно крутить, чтобы компенсировать подсос воздуха? Наверняка больше.
2. При границе обеднения в 0,75 чтобы получить оптимальных 3,25 оборота граница обогащения должна быть около 5ти оборотов. Верится с трудом, скорее всего что-то делаю не так.
Возможно дело в холостых. Но в разных статьях холостые настраивают-по разному. В одних советуют занижать чтобы еле работало, в других завышают.
3. Бедная смесь в диапазоне 0,75 - 2,75 на слух практически не различима. По крайней мере пока для меня это куча шумов от двигателя.
4. Выкручивать винт можно смело. Граница между нормальной/богатой смесью и бедной очень явная. На слух по работе двигателя и по реакции на ручку газа.
5. Напомню 2,75 оборота - данные с мануала другого мотоцикла, не нашего. Мне кажется многие тупо боятся крутить больше 3-х.

Полезно: 0
Вредно: 0
Перейти в начало страницы Перейти в конец страницы
+ Цитировать сообщение
Leksey
сообщение 11.9.2015, 5:30
Сообщение #1142


Человек с аватарой
*********

Группа: Модераторы
Сообщений: 35029
Регистрация: 16.7.2009
Вставить ник Цитата Из: Первоуральск
Мотоцикл: Suzuki Djebel 250 XC 96

Репутация:   271  


Цитата(InVader @ 10.9.2015, 23:58) *
Мне кажется многие тупо боятся крутить больше 3-х.

Многие даже не задумываются что-то там крутить. У них с японии все ездит отлично десятками лет.

Полезно: 0
Вредно: 0
Перейти в начало страницы Перейти в конец страницы
+ Цитировать сообщение
Preds
сообщение 11.9.2015, 6:17
Сообщение #1143


Живёт здесь
*****

Группа: Свои
Сообщений: 2198
Регистрация: 17.3.2014
Вставить ник Цитата Из: Устье Каменных Гор
Мотоцикл: Suzuki DJEBEL 250XC
Honda CRF1100L Africa Twin

Репутация:   35  


Стояло 2,5 оборота. Выкрутил свечку:
Прикрепленное изображение

По мне такой вид - признак бедной смеси.
Выкрутил винт, градусов десять не докрутив до трёх оборотов. На первый взгляд мот стал чуть поменьше тупить...Докручу винт до трёх оборотов и километров через 300 проверю свечку ещё раз...



--------------------
Полезно: 0
Вредно: 0
Перейти в начало страницы Перейти в конец страницы
+ Цитировать сообщение
InVader
сообщение 11.9.2015, 7:44
Сообщение #1144


Сильно заинтересован
****

Группа: Эндуристы
Сообщений: 776
Регистрация: 3.5.2013
Вставить ник Цитата Из: Камышин
Мотоцикл: Djebel 250XC 2003

Репутация:   9  


Цитата(Leksey @ 11.9.2015, 2:30) *
Многие даже не задумываются что-то там крутить. У них с японии все ездит отлично десятками лет.

Угу. А потом байки про "джебел не едет" и "сузукисаунд".
Может Джебел и терпит бедную смесь, но зачем.

Цитата(Serus @ 11.9.2015, 3:17) *
Стояло 2,5 оборота. Выкрутил свечку:
По мне такой вид - признак бедной смеси.
Выкрутил винт, градусов десять не докрутив до трёх оборотов. На первый взгляд мот стал чуть поменьше тупить...Докручу винт до трёх оборотов и километров через 300 проверю свечку ещё раз...

Я вот как раз после твоей темы пост и решил написать. Упомянул, что на бедной смеси работает примерно одинаково. Я на 2,75 и 3 ощутил лишь небольшую разницу. Только когда разобрался с боксом и иглу поднял на 3 оборотах стали появляться признаки нормальной смеси.
Я бы советовал крутить пока не почувствуешь разницу на месте. Хуже не сделаешь, вернуть всегда сможешь.
Самый простой признак - реакция на сброс ручки газа, как писал вышел.
Если получится слишком много оборотов, то скорее всего где-то подсос воздуха.
Естественно все на прогретом двигателе.


Полезно: 0
Вредно: 0
Перейти в начало страницы Перейти в конец страницы
+ Цитировать сообщение
Huandi
сообщение 11.9.2015, 7:50
Сообщение #1145


Восемь значков сузуки
********

Группа: Администраторы
Сообщений: 23374
Регистрация: 23.5.2008
Вставить ник Цитата Из: Northern Ural
Мотоцикл: Triumph Tiger 800 XCx 2016

Репутация:   140  


Цитата(InVader @ 10.9.2015, 23:58) *
получилось около 3.25


Тут уже есть смысл жиклер ХХ менять на размер больше.

Полезно: 0
Вредно: 0
Перейти в начало страницы Перейти в конец страницы
+ Цитировать сообщение
LILO
сообщение 11.9.2015, 7:56
Сообщение #1146


Сильно заинтересован
****

Группа: Эндуристы
Сообщений: 792
Регистрация: 14.11.2014
Вставить ник Цитата Из: Чита
Мотоцикл: Djebel XC 2002
Honda XRV750 RD07A

Репутация:   12  


А еще там есть воздушные жиклеры ))

Полезно: 0
Вредно: 0
Перейти в начало страницы Перейти в конец страницы
+ Цитировать сообщение
Preds
сообщение 11.9.2015, 7:59
Сообщение #1147


Живёт здесь
*****

Группа: Свои
Сообщений: 2198
Регистрация: 17.3.2014
Вставить ник Цитата Из: Устье Каменных Гор
Мотоцикл: Suzuki DJEBEL 250XC
Honda CRF1100L Africa Twin

Репутация:   35  


У меня воздух через крышку эйрбокса точно сосёт. Займусь в ближайшее время....



--------------------
Полезно: 0
Вредно: 0
Перейти в начало страницы Перейти в конец страницы
+ Цитировать сообщение
InVader
сообщение 11.9.2015, 8:05
Сообщение #1148


Сильно заинтересован
****

Группа: Эндуристы
Сообщений: 776
Регистрация: 3.5.2013
Вставить ник Цитата Из: Камышин
Мотоцикл: Djebel 250XC 2003

Репутация:   9  


Цитата(Huandi @ 11.9.2015, 4:50) *
Тут уже есть смысл жиклер ХХ менять на размер больше.

Не согласен. На оборотах за 4 может быть. Но не на 3,25. Это всего на пол оборота от любимых нами 2,75.

Цитата(LILO @ 11.9.2015, 4:56) *
А еще там есть воздушные жиклеры ))

Это к чему? Я так понял жиклеры есть, но не регулируемые. Просто дырки. Все регулировки у нас топливными жиклерами.
Если впуск выпуск родной, жиклеры родные, то дальше винта качества и иглы больше чем уверен лезть не стоит.


Полезно: 0
Вредно: 0
Перейти в начало страницы Перейти в конец страницы
+ Цитировать сообщение
Preds
сообщение 11.9.2015, 8:12
Сообщение #1149


Живёт здесь
*****

Группа: Свои
Сообщений: 2198
Регистрация: 17.3.2014
Вставить ник Цитата Из: Устье Каменных Гор
Мотоцикл: Suzuki DJEBEL 250XC
Honda CRF1100L Africa Twin

Репутация:   35  


InVader, Напомни, у тебя игла сейчас в каком стоит?



--------------------
Полезно: 0
Вредно: 0
Перейти в начало страницы Перейти в конец страницы
+ Цитировать сообщение
InVader
сообщение 11.9.2015, 8:17
Сообщение #1150


Сильно заинтересован
****

Группа: Эндуристы
Сообщений: 776
Регистрация: 3.5.2013
Вставить ник Цитата Из: Камышин
Мотоцикл: Djebel 250XC 2003

Репутация:   9  


Цитата(Serus @ 11.9.2015, 5:12) *
InVader, Напомни, у тебя игла сейчас в каком стоит?

До изменений стояла на 3-й средней проточке. Сток.
Поднял на одно деление т.е. сейчас на второй проточке снизу.
Я бы не советовал менять все сразу. Я поднял иглу еще до работ с боксом.

Полезно: 0
Вредно: 0
Перейти в начало страницы Перейти в конец страницы
+ Цитировать сообщение

61 страниц V  « < 44 45 46 47 48 > » 
Ответить в данную темуНачать новую тему
7 чел. читают эту тему (гостей: 7, скрытых пользователей: 0)
Пользователей: 0

 



RSS Текстовая версия Сейчас: 13.12.2025, 17:41
Яндекс.Метрика