Здравствуйте, гость ( Вход | Регистрация )
15.5.2013, 17:48
Сообщение
#1
|
|
![]() Весьма заинтересован ![]() ![]() ![]() Группа: Пользователи Сообщений: 40 Регистрация: 18.4.2013 Вставить ник Цитата Из: Омск Мотоцикл: Honda XR 400 Репутация: 0
|
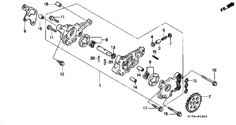
Всем привет. стал счатливым, или не очень )) владельцем Honda xr 400 2000 г.выпуска. Проехал 400 км и он встал. Сломался вторичный вал. Как так получилось я не понимаю. Сталь в палец толщиной. Ну не в этом суть. На мегазипе этих вторичных валов 2! http://www.megazip.ru/ru/bike/honda/view/1...25/27487#g27536 Нужно опуститься в раздел трансмиссия. Чем отличаются непонятно. Какой заказывать тоже непонятно. Поиск в интернете нашел только одно толковое соответсвие, но как его трактовать мне не до конца понятно. Countershaft problem Так же на том же мегазипе под номером 3 либо
Gear (34t) 23411-KCY-670 5 768 р. Либо Bearing (25x55x13) 91003-HN1-003. Как понять что мне нужно? Надеюсь на коллективный разум либо на чей то опыт. И там же в разделе мегазипа Kick starter spindle Есть 2 пункта под номером 5 один 14 второй 15. Это как раз то место в котором вал сломался. Мой сейчас 14 мм. Для чего 15 мм? Не для второго типа коленвала? Как выяснить? Так же японец, предъидущий хозяин моего мота, поставил зачем то неродной карбюратор. От двухтактного мотора. Keihin PJ. Всвязи с чем наблюдается проблеммы с заводом, особенно на горячую. И нестабильную работу на средних. Так же жор топлива. До резерва бака стандартного км на 70 хватает. Есть у кого предположения зачем? Неужели родной был плох? Народ, помогайте кто чем может. Любая мысля может быть полезна ) Полезно:
Вредно:
|
|
|
|
Max-ouT XR400 15.5.2013, 17:48
Wert Так это, взять штангель и померить то что сломалос... 15.5.2013, 18:08
Max-ouT Цитата(Wert @ 15.5.2013, 15:08) Так это, ... 15.5.2013, 18:14
Max-ouT Цитата(Wert @ 15.5.2013, 15:08) чё хотел ... 15.5.2013, 18:47
Wert ОООО))) по нашему по россейски думаешь))) конечно ... 15.5.2013, 18:18
Max-ouT Цитата(Wert @ 15.5.2013, 15:18) ОООО))) п... 15.5.2013, 18:29
Wert Начинайте ругатся,батенька)) только на себя)))
я ... 15.5.2013, 18:39
i-denis у меня только один вопрос что сломалось то? вторич... 15.5.2013, 19:15
Max-ouT Цитата(i-denis @ 15.5.2013, 16:15) у... 15.5.2013, 19:35
Танкист Цитата(Max-ouT @ 15.5.2013, 16:35) В... 15.5.2013, 20:08
Max-ouT Цитата(Танкист @ 15.5.2013, 17:08)
ЗЫ... 15.5.2013, 20:25
kaban Max-ouT, я точно такой же взял там же. Пока попроб... 15.5.2013, 20:22
Танкист RE: XR400 15.5.2013, 20:28
Max-ouT Пипец, я не успел зарегистрироваться, как уже в ко... 15.5.2013, 20:31
Танкист Из твой ссылки: 96-98 XR400 имеют слабую валом. Ho... 15.5.2013, 20:32
Max-ouT Цитата(Танкист @ 15.5.2013, 17:32) Из тво... 15.5.2013, 20:39
IVANYCH По фишам Партзилы
С 1996 по 1998
вал - 23220-KCY-6... 15.5.2013, 20:51
Танкист Цитата(IVANYCH @ 15.5.2013, 17:51) У Вас ... 15.5.2013, 21:16

IVANYCH Цитата(Танкист @ 15.5.2013, 18:16) Иваныч... 15.5.2013, 21:33
i-denis Цитата(IVANYCH @ 15.5.2013, 21:51) Вывод:... 16.5.2013, 0:03
Max-ouT Если б я не начал гнуть пальцы, мы бы не докопалис... 16.5.2013, 8:22
car-bon Цитата(Max-ouT @ 16.5.2013, 15:22) В... 16.5.2013, 8:54
Max-ouT Значит я заказываю
Широкий Вторичный вал 23220-KC... 16.5.2013, 8:59
IVANYCH Цитата(Max-ouT @ 16.5.2013, 5:59) Зн... 16.5.2013, 9:12
i-denis если бы ты сразу внятно написал, что не можешь най... 16.5.2013, 9:17
serg А после разборки двигателя этот список может увели... 16.5.2013, 9:32
alexgrey Такое перетряхивание двигла разумнее было - бы сов... 16.5.2013, 9:40
i-denis Цитата(alexgrey @ 16.5.2013, 10:40) Такое... 16.5.2013, 9:46
Max-ouT Есть причины почему я не буду колоть мотор именно ... 16.5.2013, 10:04
i-denis Из наиболее часто встречающегося на данной модели
... 16.5.2013, 12:06
Max-ouT i-denis Спасибо за советы. Очень благодарен. 16.5.2013, 12:35
i-denis Кстати я пытался вспомнить - писал когда то про из... 16.5.2013, 14:51
Kopcak Не забудь верхний и нижний комплект прокладок. 16.5.2013, 20:49
Max-ouT Цитата(Kopcak @ 16.5.2013, 17:49) Не забу... 19.5.2013, 19:30
i-denis любой бигбор и 440 особенно требуют здорового шату... 19.5.2013, 19:50
IVANYCH За 48 т/км кроме поршневой очень не маленький спис... 19.5.2013, 21:31
Max-ouT Вскроем через пару дней, ничего пока заказывать не... 20.5.2013, 17:20
i-denis Да хз... если бигборить не будешь то оем весьма и ... 20.5.2013, 18:41
Kopcak Если доп мощность не нужна, то лучшее враг хорошег... 20.5.2013, 20:53
Max-ouT Разобрали. Все в норме кроме колец. Зазор большой.... 23.5.2013, 12:39
corvalolum Тоже стал жертвой данной проблемы. Мот 2001 года. ... 22.1.2016, 13:10
sskvv У меня тоже сталинград.... есщё осенью дубасил на ... 7.2.2016, 9:32
koshey- Цитата(sskvv @ 7.2.2016, 6:32) У меня тож... 7.2.2016, 9:46
Петруха Цитата(sskvv @ 7.2.2016, 12:32) У меня то... 7.2.2016, 12:08
sskvv Повезло что поршень только треснул, это я его уже ... 7.2.2016, 10:00
sskvv пёр на всю мазуту, 110-120 , 500-600 км за 6 часов... 7.2.2016, 12:17
Петруха Цитата(sskvv @ 7.2.2016, 15:17) пёр на вс... 7.2.2016, 12:29
sskvv масло не уходило и не поливал, колпаки смотрел в н... 7.2.2016, 12:39
Петруха Цитата(sskvv @ 7.2.2016, 15:39) масло не ... 7.2.2016, 12:53
motoman я слыхал что при перегреве маслосьёмные дубеют и н... 7.2.2016, 12:56
Сыч А вот такой вопрос знатокам. На моем ХР400Р какая-... 13.2.2016, 19:46
ARS Цитата(Сыч @ 13.2.2016, 19:46) А вот тако... 14.2.2016, 12:04
Петруха похоже на то что,кик после снятия просто не правил... 13.2.2016, 20:06
Сыч Цитата(Петруха @ 13.2.2016, 17:06) похоже... 13.2.2016, 20:50
Петруха странно...,у меня спокойно можно сдвигать от обычн... 13.2.2016, 20:58
Сыч Да вроде все там в порядке со шлицами. Но надеть м... 13.2.2016, 22:24
ivanemelin Ну так разбирай еще раз. Там 2 варианта, на привал... 14.2.2016, 12:08
Сыч Раза 4-5 собирал, разбирал. Без изменений. Думаю в... 14.2.2016, 14:01
Kardan Цитата(Сыч @ 14.2.2016, 14:01) Раза 4-5 с... 14.2.2016, 18:59
leshka Цитата(Сыч @ 14.2.2016, 14:01) Раза 4-5 с... 14.2.2016, 19:23
Kopcak Цитата(leshka @ 14.2.2016, 19:23) Самое с... 14.2.2016, 21:13
Сыч Головка стяжного болта смотрит на подножку. (Прове... 14.2.2016, 21:35
Kardan Цитата(Сыч @ 14.2.2016, 21:35) Головка ст... 15.2.2016, 18:35
Kopcak Болт вынимаешь когда на шлицы одеваешь? 14.2.2016, 21:40
Сыч Да, иначе не наденется хомут 14.2.2016, 22:29
Сыч Цитата(Kopcak @ 14.2.2016, 18:13) Тоже ни... 15.2.2016, 20:47
Di_2 Цитата(Сыч @ 15.2.2016, 22:47) вот так ст... 15.2.2016, 21:27
Сыч Цитата(Di_2 @ 15.2.2016, 18:27) У меня по... 15.2.2016, 21:37
Di_2 У меня по низу так же близко к раме, а сверху не т... 15.2.2016, 21:55
motoman во нарыл фоту- мой старый хрюн
15.2.2016, 22:02
Сыч Цитата(motoman @ 15.2.2016, 19:02) во нар... 15.2.2016, 22:20
Di_2 Цитата(Сыч @ 16.2.2016, 0:20) Тут все ок)... 15.2.2016, 22:27
Kopcak На мой взгляд просто изношен. У меня было примерно... 16.2.2016, 9:12
Сыч Цитата(Kopcak @ 16.2.2016, 6:12) У меня б... 16.2.2016, 12:46
Петруха Цитата(Сыч @ 16.2.2016, 15:46) Ого, да ту... 16.2.2016, 13:15
z-luka Цитата(Kopcak @ 16.2.2016, 11:12) Новый с... 16.2.2016, 13:41
Петруха Цитата(z-luka @ 16.2.2016, 16:41) им... 16.2.2016, 14:06

Сыч Цитата(Петруха @ 16.2.2016, 11:06) да,но ... 16.2.2016, 21:23
Kopcak Цитата(z-luka @ 16.2.2016, 13:41) ес... 16.2.2016, 14:51
z-luka Петруха
Kopcak
спс, понял ... 16.2.2016, 20:52
z-luka ни у кого не завалялся один игольчатый подши 26*20... 17.2.2016, 21:51
Герасимов 'z-luka'
может на Комсомольскую 78 позвони... 17.2.2016, 22:19
Сыч Цитата(z-luka @ 17.2.2016, 18:51) ни... 18.2.2016, 19:32
Гоша Цитата(Сыч @ 18.2.2016, 16:32) ... Остало... 18.2.2016, 20:12
z-luka ага, Макс, вот сёдня этим и займусь ... 18.2.2016, 7:55
z-luka Сыч
а зачем менять абсолютно живые подши, если ме... 18.2.2016, 20:07
Kopcak Цитата(z-luka @ 18.2.2016, 20:07) По... 18.2.2016, 21:28
Сыч Цитата(z-luka @ 18.2.2016, 17:07) Сы... 18.2.2016, 22:23
z-luka Цитата(Kopcak @ 18.2.2016, 23:28) Напиши ... 19.2.2016, 8:33
Lenny Эд. А подшипники то в итоге где купил? Можно в ЛС. 19.2.2016, 10:21
z-luka Подшипниксервис
Вишнёвая 46 оф.411
тел. (343)213... 19.2.2016, 10:29
MraK111 Сам трое суток мучался с осью. Сидела намертво. По... 19.2.2016, 15:11
Kn1ght Цитата(Blohogon @ 19.2.2016, 16:11) Бывае... 19.2.2016, 15:22
z-luka На Е1 парни поделились ссылью, где прописаны разме... 20.2.2016, 8:35
adel этим сайтом пользуюсь давно, один колоссальный мин... 20.2.2016, 11:51
z-luka Цитата(adel @ 20.2.2016, 13:51) нет строк... 20.2.2016, 13:22
z-luka Покурил тему "Хонда-техническое", быстро... 25.2.2016, 8:38
Kopcak Цитата(z-luka @ 25.2.2016, 8:38) Пок... 25.2.2016, 9:09
z-luka Kopcak
спс, дома качну, на работе нЭт "никак... 25.2.2016, 9:27
sskvv ДД комрады! Нужна идея как усилить место соеди... 29.2.2016, 6:49![]() ![]() |
|
Текстовая версия | Сейчас: 6.11.2025, 15:36 |