Здравствуйте, гость ( Вход | Регистрация )
10.10.2017, 21:49
Сообщение
#1
|
|
![]() Сильно заинтересован ![]() ![]() ![]() ![]() Группа: Эндуристы Сообщений: 131 Регистрация: 3.10.2017 Вставить ник Цитата Из: Украина, Киев Мотоцикл: Honda XR250L=>Yamaha FZX750=>Suzuki RMX250 Репутация: 0
|
Наконец то и я обладатель этой газонокисилки, засматривался на эту модель уже лет 5, и тут волей случая он уже у меня в гараже.
Состояние мота хорошее, за исключением не горящих габаритов и заднего аморта, который не течет, давление есть, но не работает и не реагирует на регулировки. Полезно:
Вредно:
|
|
|
|
g2p6l RMX 250 1995 год, 51л.с. японец 10.10.2017, 21:49
Linkshunter Поздравляю, мот зверь. Экип весь есть? 10.10.2017, 21:51
g2p6l Цитата(Linkshunter @ 10.10.2017, 18:51) ... 11.10.2017, 9:48
Kn1ght если задний аморт не работает то там нет масла... 11.10.2017, 8:23
g2p6l С амортом оказалось все хорошо, был перекачан.
Пр... 12.10.2017, 22:57
Linkshunter Цитата(g2p6l @ 12.10.2017, 22:57) Буду ст... 13.10.2017, 9:57
Вованыч клапан проверяй первым делом...
и можешь поближе ... 12.10.2017, 23:26
g2p6l Цитата(Вованыч @ 12.10.2017, 20:26) клапа... 13.10.2017, 6:46
Вованыч Цитата(g2p6l @ 13.10.2017, 6:46) Клапан о... 13.10.2017, 11:41
g2p6l Цитата(Вованыч @ 13.10.2017, 8:41) у меня... 13.10.2017, 14:23
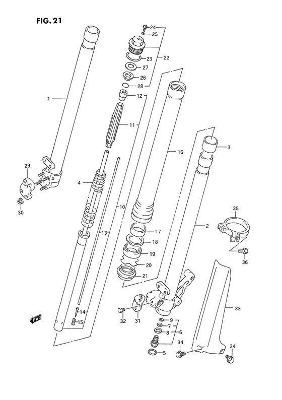
g2p6l Вот фото вилки 16.10.2017, 22:08
^..^ Цитата(g2p6l @ 16.10.2017, 20:08) Вот фот... 17.10.2017, 10:47
Вованыч Цитата(g2p6l @ 16.10.2017, 22:08) Вот фот... 18.10.2017, 10:49
g2p6l Цитата(Вованыч @ 18.10.2017, 7:49) у тебя... 18.10.2017, 15:54
Вованыч Цитата(g2p6l @ 18.10.2017, 15:54) Направл... 19.10.2017, 10:41
lesnik Цитата(Вованыч @ 19.10.2017, 11:41) интер... 19.10.2017, 11:40
g2p6l За эти выходные накатал 2 часа по сложному рельефу... 17.10.2017, 15:12
g2p6l Прокатился по яру на выходных, правда ночью был до... 24.10.2017, 18:04
caandybar поздравляю, мот огонь, шоб валило и не ломалось... 24.10.2017, 21:25
g2p6l Цитата(caandybar @ 24.10.2017, 18:25) поз... 25.10.2017, 17:12
Вованыч побольше его крути - на верхах самая песня))) и ко... 26.10.2017, 22:54
g2p6l Цитата(Вованыч @ 26.10.2017, 19:54) побол... 26.10.2017, 23:32
Вованыч Цитата(g2p6l @ 26.10.2017, 23:32) Спасибо... 29.10.2017, 22:29
g2p6l Цитата(Вованыч @ 29.10.2017, 19:29) не се... 30.10.2017, 8:23
ejlu А че кукуруза нынче уже никому не нужна? Почему не... 30.10.2017, 8:49
g2p6l Цитата(ejlu @ 30.10.2017, 5:49) А че куку... 30.10.2017, 10:44
ejlu Ого, вот уж не знал что ее можно даже весной собра... 30.10.2017, 13:33
g2p6l Цитата(ejlu @ 30.10.2017, 10:33) Ого, вот... 30.10.2017, 16:27
Вованыч а диск от рмх260 приобретал????
сколько жрет на б... 31.10.2017, 1:23
g2p6l Цитата(Вованыч @ 30.10.2017, 22:23) а дис... 31.10.2017, 8:33
z-luka Цитата(g2p6l @ 31.10.2017, 10:33) Прощлый... 31.10.2017, 9:29
g2p6l Цитата(z-luka @ 31.10.2017, 6:29) Ин... 31.10.2017, 10:34

Вованыч Цитата(g2p6l @ 31.10.2017, 10:34) Извини,... 31.10.2017, 21:02
Dattto Цитата(z-luka @ 31.10.2017, 6:29) Ин... 2.11.2017, 10:20
g2p6l Цитата(Dattto @ 2.11.2017, 7:20) на 40 си... 2.11.2017, 10:55
Dattto Цитата(g2p6l @ 2.11.2017, 7:55) Какие зве... 7.11.2017, 8:02
g2p6l Проверил, получилось 7 литров за 3 моточаса, то ес... 31.10.2017, 22:28
Linkshunter Цитата(g2p6l @ 31.10.2017, 22:28) Провери... 2.11.2017, 16:17
g2p6l Цитата(Linkshunter @ 2.11.2017, 13:17) а ... 2.11.2017, 16:23
Linkshunter Цитата(g2p6l @ 2.11.2017, 16:23) А ты их ... 2.11.2017, 18:16
g2p6l Цитата(Linkshunter @ 2.11.2017, 15:16)
... 2.11.2017, 18:17
Linkshunter ничеси, надо поэксперементировать 2.11.2017, 18:22
g2p6l Цитата(Linkshunter @ 2.11.2017, 15:22) ни... 2.11.2017, 18:27
Linkshunter прочел дополнение, спасибо.Буду пробовать 2.11.2017, 18:30
g2p6l Прошлый владелец моего мота катался на жигулевской... 8.11.2017, 23:00
g2p6l Все таки не правильно работает задний аморт, снял ... 13.11.2017, 10:57
Kn1ght Цитата(g2p6l @ 13.11.2017, 10:57) Все так... 13.11.2017, 11:27
g2p6l Цитата(Kn1ght @ 13.11.2017, 8:27) значит ... 20.11.2017, 11:51
g2p6l Покатался рано утром по яру 18.11.2017, 12:48
g2p6l Начало сопливить антифризом из под головы, взял ко... 29.11.2017, 17:17
Вованыч я не ставил эту прокладку - она тоньше и плохо под... 2.12.2017, 1:02
g2p6l Замерял компрессию на холодном моторе, получилось ... 13.12.2017, 12:36
Вованыч компрессия не показатель износа.... у меня тоже бы... 14.12.2017, 16:17
g2p6l Цитата(Вованыч @ 14.12.2017, 13:17) компр... 15.12.2017, 11:20
Linkshunter да, у меня на холодную компрессия 15 была на старо... 14.12.2017, 17:37
g2p6l Зашиповался на зиму. 29.12.2017, 13:43
Dalnoboi Цитата(g2p6l @ 29.12.2017, 13:43) Зашипов... 29.12.2017, 17:29
g2p6l Цитата(Dalnoboi @ 29.12.2017, 14:29) А у ... 30.12.2017, 11:02
анDrей Цитата(g2p6l @ 30.12.2017, 11:02) А у Вас... 21.1.2018, 21:25
Dalnoboi Цитата(анDrей @ 21.1.2018, 21:25) До нас ... 21.1.2018, 23:25
g2p6l Тест шипов пройден, держак супер!
https://you... 21.1.2018, 14:08
g2p6l Зима заканчивается, а я наконец установил оригинал... 7.3.2018, 12:10
Linkshunter Цитата(g2p6l @ 7.3.2018, 12:10) Зима зака... 7.3.2018, 16:17
g2p6l Цитата(Linkshunter @ 7.3.2018, 13:17) ...... 7.3.2018, 16:36
Linkshunter Цитата(g2p6l @ 7.3.2018, 16:36) У меня те... 7.3.2018, 16:39
g2p6l Цитата(Linkshunter @ 7.3.2018, 13:39) )))... 7.3.2018, 18:30
Kn1ght Цитата(Linkshunter @ 7.3.2018, 16:39) )))... 12.3.2018, 10:20
madmaks Цитата(Kn1ght @ 12.3.2018, 11:20) при нул... 12.3.2018, 10:35
g2p6l Добавлю пару зимних фото 15.3.2018, 15:35
Linkshunter Шиповка лютая))) 15.3.2018, 21:09
g2p6l Цитата(Linkshunter @ 15.3.2018, 18:09) Ши... 16.3.2018, 7:42
g2p6l Все говорили что клапана от RM не выпадают. Так во... 17.3.2018, 13:16
Linkshunter Цитата(g2p6l @ 17.3.2018, 13:16) остально... 17.3.2018, 13:37
g2p6l Цитата(Linkshunter @ 17.3.2018, 10:37) Сф... 20.3.2018, 18:33
lesnik Цитата(g2p6l @ 20.3.2018, 19:33) Пока еще... 21.3.2018, 10:46
g2p6l Цитата(lesnik @ 21.3.2018, 7:46) как так... 21.3.2018, 11:55
Linkshunter Цитата(g2p6l @ 21.3.2018, 11:55) Да вот у... 21.3.2018, 12:16
lesnik Цитата(Linkshunter @ 21.3.2018, 13:16) на... 21.3.2018, 13:17
Linkshunter Цитата(lesnik @ 21.3.2018, 13:17) не, там... 21.3.2018, 14:59
g2p6l Разобрал через выхлопное окно казалось, что се не ... 22.3.2018, 23:57
Linkshunter беда печаль. Судя по остаткам черноты на сломе, тр... 23.3.2018, 10:54
g2p6l Цитата(Linkshunter @ 23.3.2018, 7:54) бед... 23.3.2018, 11:42
lesnik Цитата(g2p6l @ 23.3.2018, 12:42) Предыдущ... 23.3.2018, 11:45
lesnik Какие были предпосылки перед этим? 23.3.2018, 10:57
Linkshunter Может быть показалось
23.3.2018, 11:44
g2p6l Цитата(Linkshunter @ 23.3.2018, 8:44) Мож... 23.3.2018, 12:18
lesnik Как вариант не установлена или недостаточно зажата... 23.3.2018, 15:13
g2p6l Цитата(lesnik @ 23.3.2018, 12:13) Как вар... 23.3.2018, 18:00
Linkshunter Цитата(g2p6l @ 23.3.2018, 18:00) Новый ни... 23.3.2018, 18:40
g2p6l Цитата(Linkshunter @ 23.3.2018, 15:28) ес... 23.3.2018, 18:41
g2p6l Причина выпадения клапана установлена, на этом цил... 25.3.2018, 10:48
lesnik Кто разбирал переднюю вилку перевертыш, на сколько... 30.3.2018, 12:30
Kn1ght Цитата(lesnik @ 30.3.2018, 12:30) Кто раз... 30.3.2018, 13:29
lesnik Цитата(Kn1ght @ 30.3.2018, 14:29) не разб... 30.3.2018, 14:46
Kn1ght Цитата(lesnik @ 30.3.2018, 14:46) Чёй то?... 30.3.2018, 15:27
lesnik Цитата(Kn1ght @ 30.3.2018, 16:27) масло п... 30.3.2018, 16:09
Kn1ght Цитата(lesnik @ 30.3.2018, 16:09) у меня ... 30.3.2018, 16:21

lesnik Цитата(Kn1ght @ 30.3.2018, 17:21) подтяну... 30.3.2018, 16:46
Linkshunter Цитата(lesnik @ 30.3.2018, 16:09) у меня ... 30.3.2018, 18:32
Вованыч откручивал гайковертом на собраной вилке (слил мас... 30.3.2018, 14:25![]() ![]() |
|
Текстовая версия | Сейчас: 16.11.2025, 12:48 |